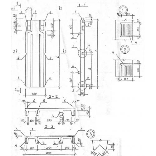
Вентблок ВБ 1-3 л - это специальное оборудование, предназначенное для обеспечения вентиляции в железобетонных конструкциях. Он обеспечивает надежную защиту от переувлажнения и гниения материалов, используемых при строительстве.
Вентблоки ВБ 1-3 л широко используются в строительстве железобетонных конструкций, таких как фундаменты, стены, перекрытия и другие элементы зданий. Они обеспечивают эффективную вентиляцию и защиту от влаги, что продлевает срок службы конструкций и улучшает их качество.









